Einhell ürünlerinize uygun yedek parça veya aksesuar bulun.
Sitedeki bayiler
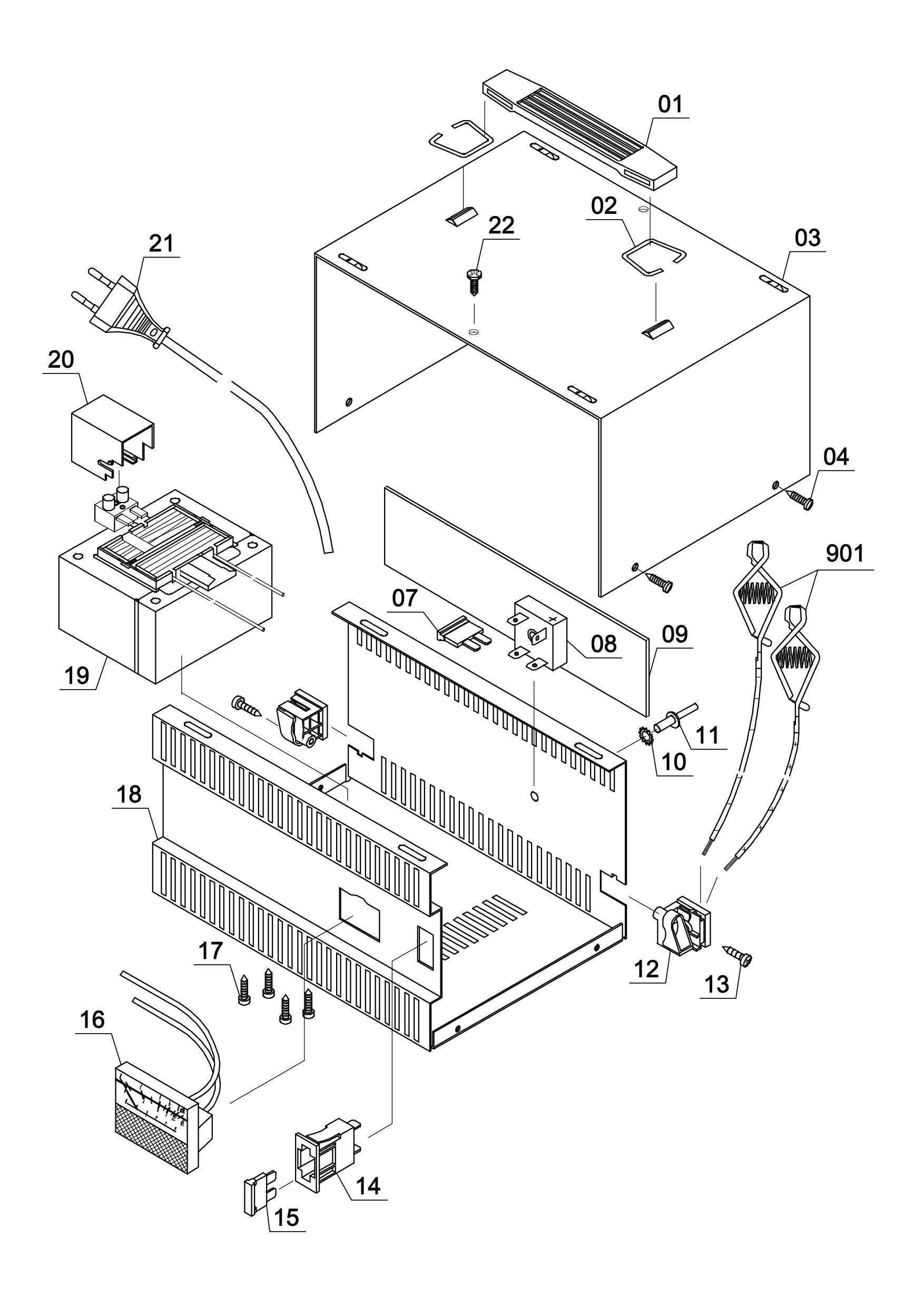
Ürün Açıklaması
CC-BC 12 akü şarj cihazı, çizilmeye karşı dayanıklı, toz boya kaplı çelik sac gövdeli, kullanışlı ve sağlam bir 12 Volt şarj cihazıdır. Cihaz, şarj işlemini denetlemek için mevcut şarj oranını gösteren bir ampermetreye sahiptir. Böylece, güçlü ve tamamen izole edilmiş terminal kelepçeleri, akü terminallerine her zaman optimum temas sağlar. Ayrıca, akü şarj cihazı optimum güvenlik için ters polarite ve aşırı yük korumasına sahiptir.
Daha fazla bilgi için
Daha az bilgi için
Teknik özellikler
Ürün ağırlığı
3.22 Kg
Şarj akımı min. (arit./eff.) - maks. (arit./eff.) 12 V d.c.'de
8 / 12 A
Şarj gerilimi
12 V
İlgili indirilenler
Musteri degerlendirmeleri
Einhell - "Doğrulanmış Satın Alma" durumları dışında - yayınlanan incelemelerin ürünleri fiilen kullanmış veya satın almış tüketicilerden geldiğini garanti etmez.
